

Informazioni sulle spedizioni e consegne saranno disponibili a breve.
Fix Your Impact Drill SBE 705 - 00709001. All Spares are original and can be supplied at Low and discounted prices For Shipping. Our Spares are Genuine Parts and Come with a Full Guarantee.
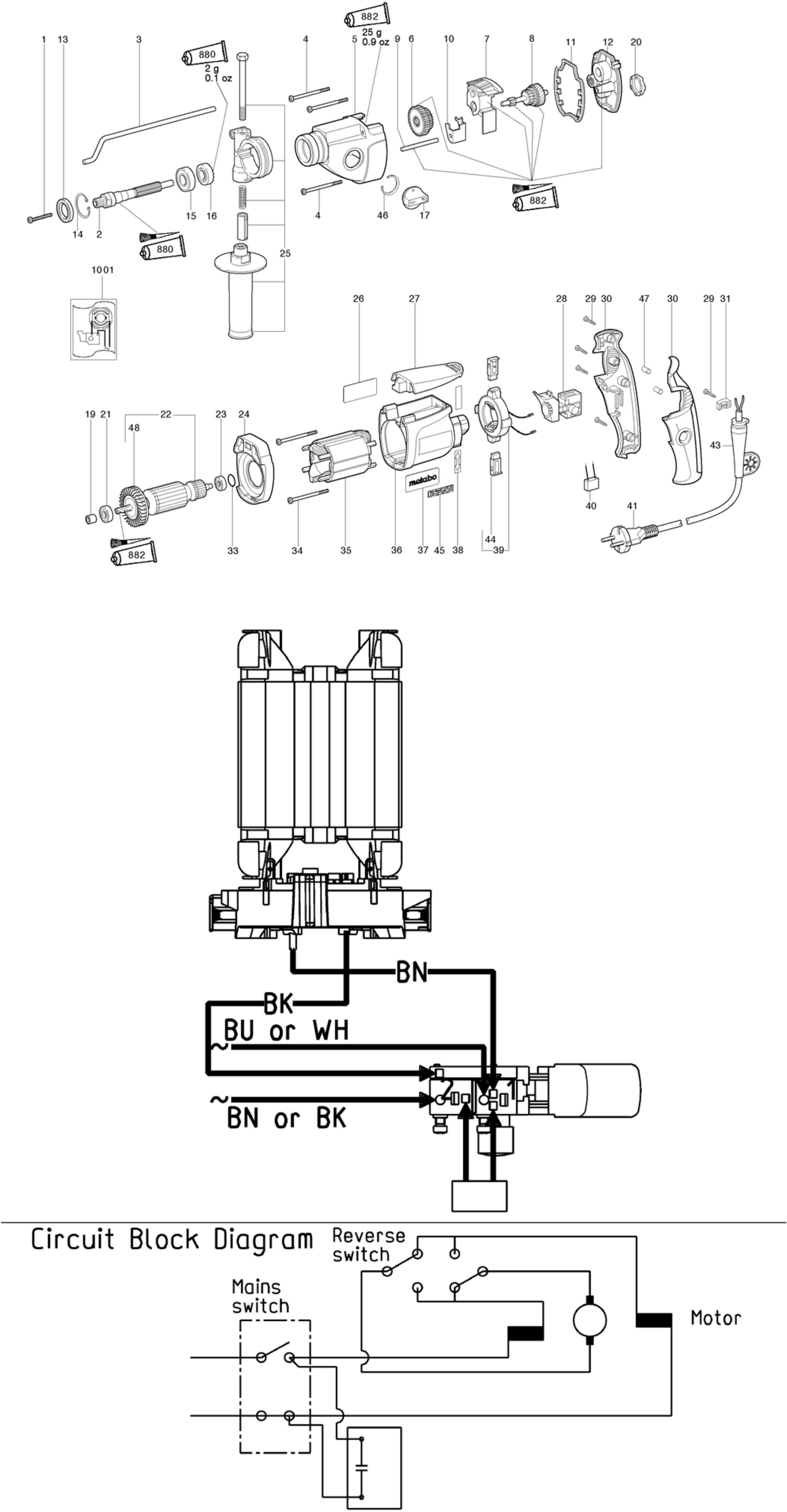
In the following table, look for the model of the Percussion Drill and the respective parts of the code.![]()
| Impact Drill Metabo SBE 705 / 00709001 / EU 230V | ||
| # | Part Num. | Description |
| 1 | 34170194 | CHEES EHEAD SCREW |
| 2 | 34160364 | DRILL SPINDLE |
| 3 | 34151163 | DEPTH STOP |
| 4 | 14112249 | SELFTAPPING FILL. H. SCREW |
| 5 | 31603099 | GEAR HOUSING CPL. |
| 6 | 34000401 | SLIDING BLOCK |
| 7 | 31602771 | SWITCH HOUSING COMPL. |
| 8 | 31603037 | INTERMEDIATE GEAR |
| 9 | 34154001 | GUIDE BOLT |
| 10 | 33912927 | SHIFT FORK |
| 11 | 34409591 | SEAL |
| 12 | 31603100 | GEAR FLANGE CPL. |
| 13 | 33921083 | SHAFT SEALING RING |
| 14 | 14118168 | RETAINING RING |
| 15 | 14311022 | BALL BEARING 15X32X9 |
| 16 | 34105565 | SLOTTED DISC |
| 17 | 31602953 | CONTROL KNOB CPL. |
| 19 | 34337604 | SEALING RING |
| 20 | 34409592 | RUBBER BUFFER |
| 21 | 14311340 | BALL BEARING 8X22X7 |
| 22 | 31000783 | ARMATURE CPL.230V |
| 23 | 14311475 | BALL BEARING 6X 19X 6 |
| 24 | 34337427 | INTERMEDIATE FLANGE |
| 25 | 31400063 | SUPPORTING HANDLE CPL. |
| 26 | 33804020 | RATING PLATE |
| 27 | 34337428 | COVER W.O. ELECTRONIC |
| 28 | 34340687 | ELECTRONIC SWITCH WITH DIAL |
| 29 | 14111706 | SELFTAPPING FILL. H. SCREW |
| 30 | 31604106 | DRILL HANDLE W/OVERMOLD GREEN |
| 31 | 34336249 | CABLE CLIP |
| 33 | 14319243 | ORING |
| 34 | 14111826 | SELFTAPPING FILL. H. SCREW |
| 35 | 31100980 | FIELD COIL 230V |
| 36 | 31501265 | MOTOR HOUSING |
| 37 | 33812216 | LABEL 08 52X22 |
| 38 | 33811541 | INDICATION LABEL |
| 39 | 31602810 | BRUSH HOLDER MODULE |
| 40 | 34325378 | INTERFERENCE SUPPR. COND. |
| 41 | 34448588 | CABLE WITH PLUG |
| 43 | 34410116 | CABLE SLEEVE |
| 44 | 31603455 | BRUSH SET 230V/120V |
| 45 | 39999999 | PART NOT NEEDED |
| 46 | 14115581 | RING |
| 47 | 34409222 | RUBBER PLUG |
| 48 | 31603573 | FAN W. PROT. GRID |
| 88 | 34413093 | GREASE 50GR 1.8oz |
| 88 | 34413097 | GREASE 50GR 1.8oz |
| 101 | 33850413 | DIAGRAM |